产品说明:
欢迎您使用金华仪(北京)科技有限公司的产品!当您拥有金华仪传感器及其检测设备的同时就标志着您掌握了最先进的工程检测手段和享有本阅读说明书或来电垂询,谢谢!
1、简介
JH-985型系列精密量水堰计是用于精确测量非常小的水位变化,可对河流、堰槽以及钻孔里很小的水位变化进行精确测量。该系统主要包括一个液位桶及一个振弦式力传感器和连接在力传感器的重锤组成。由于水面的变化改变了重锤的浮力,振弦 0.025mm 的水位变化。
技术参数:
2、主要技术指标
2.1 测量范围:0~50,0~100,0~200,0~300,0~400,0~500mm
2.2 分辨率:0.025%F.S
2.3 综合误差:≤0.2%F.S
3、性能特点
3.1 测量范围:振弦式原理,频率信号输出测值不受电缆长度影响。
3.2 测量精确度高,长期稳定性好。
3.3 受温度影响非常小。
3.4 测量范围大,灵敏度记。
3.5 内置智能芯片带有防丢失的电子编号,及直接智能输出物理量。
3.6 适合于自动化无人值守测量。
4、连接仪表
4.1 连接方法说明:
直接连接:JH-485智能读数仪及JH-599自动测试系统配备传感器连接插口(4芯航空插头),对于配备插头的传感器可直接插入仪表测量。 注意:无插头的可焊接4芯航空插头,连接方法为1红线—地线,2黑线--频率线,3白线—温度线。(数字对应4芯航空插头上标识的数字)。
4.2 测量操作详见所接相应测量仪表或测试系统的使用说明书。
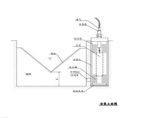
4.2. 1 系统安装
在准备安装传感器之前,必须先阅读下述安装指导,并且要完全清楚。因为该种传感器是很精密的,在装配时必须相当小心。
(1系统安装之前,应在现场对传感器与重锤等组件进行检查,即将传感器接到读数系统上测量传感器是否有输出。
(2)安装
传感器的安装比较简单。如果是用于河流或量水堰,则需要设一个静止观测井(带隔栅的防污管)。静止观测井应装在水流相对平静区域内的铅垂位置上,在静止观测井内制做好安装墩。小心的将组件放下进入静止观测井(钻孔)中,并以水位在重锤所在位置上就位。注意传感器不可浸入水中。用膨胀螺丝固定安装支架,用水平尺测量将传感器调试保证垂直。
)检查
 
|